
一、概述/ Summary:
气动偏心旋转调节阀(也称“凸轮挠曲阀”),由气动执行机构和偏心旋转阀及定位器等附件组配而成。它充分利用了阀内件的偏心旋转之特点,让流道更通畅,且自清洁能力大幅提升。对阀座、旋转阀芯或阀内腔的特殊硬化处理,提升了其抗腐蚀和颗粒高速冲刷的性能,非常适合煤气化等工艺系统中,用于控制水煤浆、黑灰水、渣水及油浆等含颗粒状介质的调节和控制。
Pneumatic eccentric rotary control valve (also called "cam deflection valve") is composed of pneumatic actuator, eccentric rotary valve, positioner and other accessories. It makes full use of the eccentric rotation of the valve trim, which makes the flow channel smoother and greatly improves the self-cleaning ability. The special hardening treatment of the valve seat, rotary valve core or valve cavity improves its corrosion resistance and high-speed particle erosion performance. It is very suitable for coal gasification and other process systems to control coal water slurry, black ash water, and slag water. Adjustment and control of granular media such as oil slurry.
二、结构和材质/ Structure And Material:

| 序号 | 1 | 2 | 3 | 4 | 5 | 6 | 7 |
| 名称/ Name | 阀体/Body | 阀座/ Seat | 阀芯/ Spool | 阀杆/ stem | 导套 | 压圈螺母 | 填料 |
| 材质/material | WCB、CF8、CF8M等 | 316表面硬化处理或整体烧结WC | SUS316球面表面硬化处理 | 05Cr17NiCu4Nb(17-4PH)或SUS316 | 9Cr18、304等导向面表面硬化处理 | 304、316等内腔硬化处理 | 聚四氟乙烯、柔性石墨 |
三、特点/ Characteristic:
1、阀体流道近似管道,流阻小,流通能力强,可调节范围广;
2、阀芯偏心旋转设计,阀芯开启时能够迅速脱离阀座,从而减少对密封面的摩擦。开启后
阀芯隐藏在流道后侧,较好避免了介质对密封面的冲刷;
3、阀芯与阀座有相对剪切作用,自清洁能力强。
4、阀门长颈设计,适用于温度范围广泛;
5、结构简单,重量轻,安装维护方便。
1. The flow path of the valve body is similar to the pipeline, with small flow resistance, strong flow capacity and wide adjustable range;
2. The valve core is designed with eccentric rotation, and the valve core can be quickly separated from the valve seat after opening, thereby reducing the friction on the sealing surface. After opening, the valve core is hidden behind the flow channel, which better avoids the erosion of the sealing surface by the medium;
3. The valve core and the valve seat have a relative shearing effect, and the self-cleaning function is strong.
4. The valve has a long neck design, which is suitable for a wide temperature range;
5. Simple structure, light weight, convenient installation and maintenance.
序号 | 类别 category | 参数和性能 Parameters and performance | 序号 | 类别 category | 参数和性能 Parameters and performance |
1 | 公称通径 Nominal diameter | 2〃—20〃 | 7 | 驱动方式 Drive way | 气动、液动、电动 Pneumatic, hydraulic, electric
|
2 | 压力等级 Pressure Level | class150—class900 | 8 | 流量特性 Flow characteristics | 近似等百分比 Approximately equal percentage |
3 | 适用介质 Applicable medium | 煤浆、黑水、灰水、渣水等Coal slurry, black water, gray water, slag water, etc. | 9 | 执行机构 Executive agency | 活塞式气缸、气动薄膜 Piston cylinder, pneumatic film |
4 | 适用温度 proper temperature | -29℃—350℃ | 10 | 附件 Appendix | 减压阀、过滤器、定位器、气源放大器、气锁阀、快速排气阀、电磁阀等 Pressure reducing valve, filter, positioner, air source amplifier, air lock valve, quick exhaust valve, solenoid valve, etc. |
5 | 泄漏等级 Leakage level | ANSI CLASS Ⅳ、V | 11 | 定位器 Locator | 定位器防爆级别/Explosion-proof level: ExdⅡCT4、ExiaⅡCT4;防护级别/Protection level:IP65 |
6 | 连接方式 Connection method | 法兰、对夹 Flange, wafer | 12 | 可调比 Adjustable ratio | 50:1 |
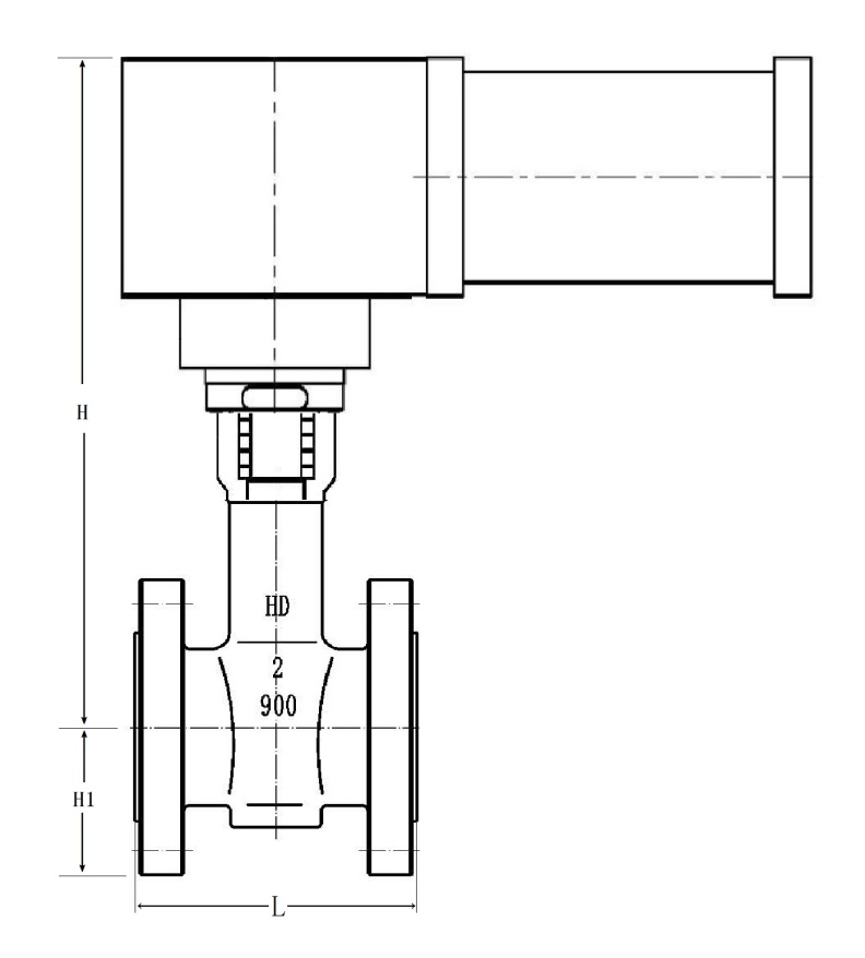
五、外形及连接尺寸/ Shape connection size:

配活塞式气动执行机构的尺寸/ Dimensions of pneumatic actuator with single acting piston:
| 公称通径DN | 结构长度L | H(mm) | H1(mm) | 参考重量(kg) | |
| CL150-600 | CL900 | ||||
| 50 | 124 | 250 | 330 | 103 | 20 |
| 80 | 165 | 280 | 450 | 120 | 38 |
| 100 | 194 | 300 | 480 | 145 | 55 |
| 150 | 229 | 338 | 560 | 190 | 99 |
| 200 | 243 | 400 | 598 | 235 | 140 |
| 250 | 297 | 400 | 740 | 275 | 199 |
| 300 | 338 | 457 | 790 | 305 | 252 |
| 350 | 400 | 457 | 890 | 320 | 308 |
| 400 | 400 | 508 | 920 | 352 | 350 |
| 450 | 450 | 550 | 1150 | 393 | 490 |
| 500 | 500 | 600 | 1280 | 428 | 620 |
六、型号编制/Model Etablishment:
HD偏心旋转调节阀型号编制办法
HD | 6 | P | 65 | H | ■ | 600 | S | ■ | 6 |
厂家 代号 | 阀门 类型 | 驱动 形式 | 阀门 代号 | 密封 形式 | ■ | 公称压力 | 阀体材质 | ■ | 进口通径 |
HD/ 汉德 | 6/角行程 调节阀 8/直行程 调节阀 | P/气动 HY/液动 A/气液 E/电动 | 65/偏心旋转阀 | H/硬密封 X/软密封 H(X)/软硬密封 | (磅)或MPa | C/WCB S/CF3/CF3M S/CF8/CF8M | 寸或mm |
示例:如选择通径为6″,阀体材质为316L,硬密封阀座结构,气动执行机构,压力为600LB
的汉德偏心旋转调节阀的产品编号为:HD6P65H-600S-6。
Example: If the diameter is 6", the valve body material is 316L, the hard-sealed valve seat structure, the pneumatic actuator, the pressure is 600LB
The product number of the Hande eccentric rotary control valve is: HD6P65H-600S-6.
七、订货须知/ Pre Oder Iformation:
1、公称通径;公称压力;法兰连接形式;
2、流量特性;供气压力;
3、阀作用形式,故障位置;
4、附件要求(定位器、减压阀、手轮等)
5、正常流量和要求最大流量;
6、介质名称、温度、比重、阀前和阀后压力(对应最大or最小流量时的)
7、介质粘度,是否有悬浊液,浓度,颗粒大小);
8、或提供详细数据表。
1. Nominal diameter; nominal pressure; flange connection;
2, flow characteristics, supply pressure;
3, valve action form, fault location;
4, accessories requirements (positioner, relief valve, hand wheel, etc.)
5, normal flow and required maximum flow;
6, medium name, temperature, specific gravity, pressure (corresponding to the maximum or minimum flow)
7, whether the suspension, medium viscosity, concentration, particle size);
8, or provide detailed data sheet.